Kühler durch Steinschlag zerstört/Nachrüstung Schutzgitter
Hallo,
bei mir hat heute Mittag die Warnlampe Kühlflüssigkeit aufgeleuchtet mit dem Hinweis Motor abstellen.
Nach prüfen des tatsächlichen Kühlflüssigkeitstands (weit unter Minimum) hab ich angerufen und im Rahmen der Mobilitätsgarantie den Wagen zum nächsten Audihändler abschleppen lassen.
Beim Freundlichen wurde dann festgestellt, dass der Kühler von einem Steinschlag beschädigt wurde und das Kühlerwasser an dieser Stelle austritt. Der Serviceleiter hat mir das ganze mit einer Überdruckpumpe vorgeführt.
Jetzt meine Frage?
Kann man den Kühler evtl. reparieren. Laut dem Freundlichen nicht möglich, die wollen jetzt halt 950 Euro für den Austausch.
Gibt es evtl. eine Schutzmöglichkeit? In einem anderen Thread hab ich was von einem Schutzgitter vor dem Kühler gelesen. Das ganze hat aber den S6 betroffen.
Grüsse
Matthias
Beste Antwort im Thema
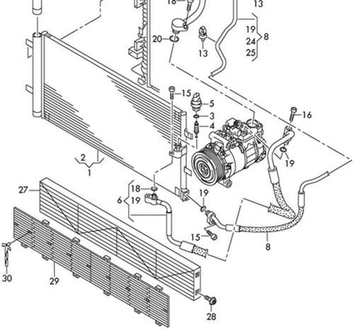
hab für euch gesucht: Schutzgitter 8K0 820 746 C und 9 Clips 8K0 867 646
Ähnliche Themen
68 Antworten
also ich werd dann auf jeden Fall das Schutzgitter für den Ölkühler einbauen lassen.
Meint Ihr das der RS6 Kühlergrill den Kühler besser schützen würde?
optisch auf jeden Fall... und wenn die Front schon mal unten ist.. ;)
Mein Audi soll am Montag fertig werden und so schnell Krieg ich jetzt keinen her, der Original ist zu teuer und passt glaub nicht p&p.
Aber bin schwer am überlegen mir einen Nachbaugrill einzubauen.
Nachbau wäre mir nicht gut genug.. Hab Kameras vorne, da ist nur der Originale passgenau.. alles andere ist Gebastel und beeinträchtigt dann auch die Funktion..
Es gibt anscheinend neben dem Gitter 8K0820746C ( PR-TC6) noch ein anderes Gitter mit Index D, das massiver und breiter ist, aber gröber von den Öffnungen her
8K0820746D für PR-T8Z,TF8
Interessanter Link zum Thema:
http://www.audizine.com/.../...ection-screen-for-intercooling-radiator
Habe mir gerade das Schutzgitter 8K0820746C mit den Clips bestellt
Ich habe noch einen neuen inkl clipsen liegen, wenn wer will
Ich hatte auch das Problem nur war bei mir der Klimakühler durchschlagen. Hab dann aber keine Lösung gefunden also hab ich mir selber eine gebaut. Hab dazu in Ebay so ein Wabengitter bestellt.
Zitat:
@Rodaz schrieb am 11. Apr. 2016 um 09:15:29 Uhr:
8K0820746C
Wie hoch ist hier der Aufwand für den Einbau? Muss die Front weg oder kommt man von unten ran.
Btw: das mit dem engmaschigen Wabengitter halte ich thermisch für bedenklich...
Habe eben bei audizine die Antwort auf meine Frage gefunden:
Zitst:
Nope! I installed this last night in about 10 minutes through the top of the engine bay. Remove 4 push pin clips with your finger, remove the cover over the radiator, slide the grille over the ic, push in the retainer clips, replace the cover an clips, done! I needed my girlfriends slender arms for a few of the clips, but I could have gotten by had she not been there too.
Agreed. The OEM screen can go on pretty easily. I used a pair of needle nose pliers to start the plastic clips from the front, then reached down from the top and seated the clips the rest of the way by hand.
Thermisch hatte ich mit dem Gitter keine Probleme. Die Öffnungen sind groß genug dass genug Luft durch kommt. Außerdem haben andere Fahrzeuge etwas ähnliches standardmäßig verbaut, ich versteh nicht warum Audi das nicht macht.
Setzt sich das im Winter nicht mit Schnee zu? Wie hast Du das Gitter eingebracht und befestigt? Welche Größe haben die Wabenöffnungen?
Da ich das Gitter erst am Anfang vom Sommer verbaut hab kann ich nur sagen dass die hohen Temperaturen kein Problem sind.
Diesen Winter hat es noch nicht genug geschneit um zu sagen ob es sich zu setzt. Werde im Frühjahr mal Feedback dazu geben.
Befestigt hab ich's mit Kabelbinder es gibt oben und unten genug Möglichkeiten.
Problematischer war das Zuschneiden dass es an die Unregelmäßige Form an den Seiten gut passt. Hab dazu eine Schablone aus Karton gemacht und die dann übertragen.
Die Waben sind 5x3mm groß.
Danke für die Info, schmithers! Werde Deinem Beispiel folgen, allerdings mit der 6,5x4mm Variante des Wabenzuggitters. Dem LLK will ich das Original verpassen. Mal sehen, wie schnell ich die Komponenten zusammen bekomme. Werde dann berichten...
Hallo,
passen diese Gitter auch bei meinem Ultra 2.0?
Danke für die Info
@ferratino viel Erfolg
@biesa2k da es bei mir 2mal 1m auf 40cm große Matten waren, die ich dann an mein Auto angepasst hab, sollte es auch da funktionieren




