- Startseite
- Forum
- Auto
- Audi
- A4
- A4 B6 & B7
- A4 B7 - Fahrwerk instandsetzen
A4 B7 - Fahrwerk instandsetzen
Hallo,
immer wenn mein B7 über Gullideckel, Straßenfugen und Kopfsteinplaster rollt, ist das eine unangenehme Erfahrung. Es ist relativ laut, eigentlich zu laut und auch zu unsanft für einen A4. Das Auto hat nun 240 tkm runter, ohne dass bisher Teile am Fahrwerk ersetzt wurden. Irgendwelche Teile sind jedenfalls reif für den Austausch, darauf wette ich!
Außerdem kommt ein Klappern/ Poltern, wenns über Kopfsteinpflaster geht, denke von vorne rechts.
Welche Fahrwerksteile sind typische Kandidaten für den Austausch? Also Dämpfer habe ich schon auf die Liste gesetzt, was ist mit den Federn, verschleißen die auch? Welche Köpfe, Lager müssen typischerweise nach so einer Laufleistung ersetzt werden, was ist sinnvoll? Gibt es irgendwelche Gummis, die vielleicht auch mal durch sind?
Es wäre super, wenn nach dem Instandsetzen wieder so eine Art Neuwagen-Feeling aufkommt. Also hinsichtlich des Rollkomforts, bei etwas abgenutzten Straßen.
Mit welchen Materialkosten muss ich rechnen, wie groß ist der Arbeitsaufwand?
Ach ja: Ist ein Normalfahrwerk mit 17 Zoll.
Danke Euch!
Beste Antwort im Thema
Update: So ich bin jetzt durch. Hatte nun ein umfangreiches Paket bei meiner Werkstatt zur Ersetzung beauftragt bzgl. Fahrwerk, Motor- und Getriebelagerung und Riementriebe.
Vorweg das Ergebnis: Das Auto selbst fährt sich grandios, alles fest, gutes elastische aber festes Feedback, keine harten Schläge,dennoch stabil. Ich muss das alles erstmal auf den nächsten hunderten km realisieren.
Der erste Motor-Start war auch super, es fehlen plötzlich bestimmte und bekannte Vibrationen, die nun einfach weg sind. Was mir auch aufgefallen ist, dass die Lenkung etwas schwergängiger läuft, aber keinesweg unkonfortabel.
Es war verdammt viel Arbeit für mich, alle Teile in guter Qualität bzw. von renomierten Lieferanten/ Herstellern zu bekomment. Ich habe festgestellt, dass die VAG-Teile-Preise fast immer im Faktor 2 teuerer sind, außer bei einem Querlenker (oben, links hinten), für den Audi sogar Faktor 3,5 haben wollte. Selbst die ganz guten ATE-Bremsen waren um Faktor 2 günstiger, als die Original-VAG-Bremsen für meinen A4. Aber gemessen am Umfang der Teile-Kosten hatte sich dann die Kostenersparnis doch gelohnt.
Für meine Werkstatt war es auch umfangreich, zumal die beiden bösen Schrauben ausgebohrt werden mussten, und es ein 1-Mann-Betrieb ist. Ich habe letztlich rein für die Arbeitszeit und auch für die Zeitaufwendungen für Fahrt zum Vermesser 1000,- zzgl. MWSt. bezahlt.
Vermessung und Teile kommen natürlich oben drauf. Ich finde den Arbeitspreis für diesen Umfang der Arbeiten ok.
Ersetzt wurden:
- alle vier Stoßdämpfer (Koni FSD) samt Eibach Pro-Kit Federn (30 mm) (zuvor normales Originalfahrwerk)
- alle vier Domlager (vorne Boge, hinten Lemförder)
- alle vier Stabi-Koppelstangen (TRW)
- vorderer und hinterer Stabi (vom S4) samt neuer Gummis (VAG)
Vorderachse:
- alle acht vorderen Querlenker (TRW)
- beide Spurstangenköpfe und beide Axialgelenke (TRW)
Hinterachse
- alle drei Buchsen beider Trapezlenker (2x Lemförder, 1x Meyle)
- alle beiden Buchsen der großen/ oberen Querlenker (Lemförder)
- beide Spurstangen (TRW)
Motor:
- beide elektrischen Motorlager (VAG)
- die Getriebestütze und der vordere Motoranschlagsgummi (VAG)
- alle vier dicken Hydrolager des vorderen Hilfsrahmens (Lemförder)
- Zahnriemen samt Spanner der Hochdruckpumpe (Ina als Kit)
- Keilrippenriemen (Bosch)
- große Riemenscheibe bzw. Riemenschwingungsdämpfer (Gates)
- beide Umlenkrollen (Ina) (dritte Umlenkrolle wurde wegrationalisiert)
- Rippenriemen-Spanner (Ina)
- Generator (Valeo)
- Kühlmittelpumpe (HePu)
Bremsen:
- alle Bremsscheiben und Keramik-Beläge (ATE)
- beide Bremsleitungen hinten (Hersteller unbekannt, durch Werkstatt beschafft)
Fahrzeug wurde dann noch zum Vermesser gebracht, dort wurden wohl auch erst die Schrauben der Querlenker usw. endgültig festgezogen. Fast alle Teile hatte ich selbst besorgt. Ich war dann sogar nochmal im Audi-Zentrum Charlottenburg, dort hatte ich die beiden (bösen) Spannschrauben, die Schrauben und das Abdeckblech für die große Riemenscheibe und weitere Schrauben für die beiden Umlenkrollen und den Rippenriemenspanner besorgt (ca. 50 Euro).
Eigentlich sollten hinten am Hilfsrahmen ebenfalls alle vier großen Hydrolager getauscht werden, sowie zwei Gummilager, die den Trapezlenker mit dem Radlagergehäuse (Hinterachse) verbinden. Doch deren Zustand war noch so exzellent, dass ich die Teile wieder dem Händler zurückgeben kann.
@GaryK : Herzlichen Dank für Deine Hinweise zur Fahrwerksaufwertung. Ich bin dem ja vollständig gefolgt und habe es bisher nicht bereut. Rein optisch neigt das Auto tatsächlich auch zum Hängehintern, obwohl hinten keine Quattro-Antriebstechnik und vorne der übergewichtige Motorblock auf das Fahrwerk lasten. Kurvenräubern geht nun auch ganz gut. :p
Ähnliche Themen
213 Antworten
Ärgerlich :(
Bei Audi? Wenn du noch nen fuffi drauf legst kannst dir da aber auch schon nen neuen a4 mitnehmen :D
Also ich kann dir keinen Händler empfehlen. Ich bestelle seit Jahren bei auto-doc ohne Probleme. Viele haben aber dort von ärger berichtet. Im Endefekt ist es egal, du bekommst bei moto als auch bei autodoc keine Fälschungen und online + gutes service + guter Preis gibt es leider nicht. Bei beiden kostet das Teil etwa die Hälfte vom sonstigen Zubehörhandel.
Zitat:
@a3Autofahrer schrieb am 23. April 2020 um 09:27:41 Uhr:
Ja, tatsächlich ist damals (2015) nicht in Nulllage festgezogen worden. :mad:
das hat wie oben beim Spurstangenkopf nichts damit zu tun...
wenn du sagst der Kugelkopf ist defekt dann Materialproplem/Belastung , dem ist die Einbaulage egal ;)
Das hört sich ja nicht so toll an. :( Hoffen wir mal, dass die anderen Lenker noch eine Zeitlang halten und hier nicht der Grundsatz gilt: "Wenn einer defekt ist, dauert's bei den anderen auch nicht mehr lange." Aber stimmt, wie Garrett schreibt, wenn der Kugelkopf kaputt ist, ist die Einbaulage egal, der dreht sich ja in alle Richtungen.
Zitat:
@garrettv8 schrieb am 23. April 2020 um 09:39:51 Uhr:
Zitat:
@a3Autofahrer schrieb am 23. April 2020 um 09:27:41 Uhr:
Ja, tatsächlich ist damals (2015) nicht in Nulllage festgezogen worden. :mad:
das hat wie oben beim Spurstangenkopf nichts damit zu tun...
wenn du sagst der Kugelkopf ist defekt dann Materialproplem/Belastung , dem ist die Einbaulage egal ;)
Um so besser. Dann kann ich es zumindest auf das Material schieben. Kugelkopf trifft es denke ich sehr gut.
Dass dieser defekte QL jetzt nicht die anderen Teile zusätzlich unnötig höher belastet, soll schnell ein Austausch erfolgen.
Zitat:
@joshy198 schrieb am 23. April 2020 um 09:39:01 Uhr:
Ich bestelle seit Jahren bei auto-doc ohne Probleme.
Preisunterschied ist schon ordentlich.
autodoc: 113,-
motointegrator: 83,-
Wie gesagt, über autodoc wird das gleiche wie über moto gesagt.
Zitat:
@joshy198 schrieb am 23. April 2020 um 15:43:31 Uhr:
Wie gesagt, über autodoc wird das gleiche wie über moto gesagt.
Jo, alles gut. :)
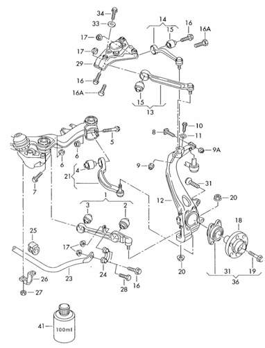
Wenn ich das richtig sehe, scheint Lemförder keine Zusatzmaterialien (Schrauben) vorzusehen. Jedenfalls wenn man dem Katalogauszug (Bild 1) glauben darf....
Zitat:
@wallmi59 schrieb am 23. April 2020 um 06:12:15 Uhr:
Ungewöhnlich jedoch, dass der schon nach so kurzer Zeit defekt ist.
Sind zwar nur 77 tkm, aber der Großteil davon Stadtverkehr mit etlichen Lastwechseln. Das spielt eventuell auch mit rein...
habe vor 2w. einen oberen LF eingebaut da waren Schrauben dabei.
Allerdings sind Preise ein Witz ich habe für den kleinen 67€ bezahlt weil er schnell da sein musste.
Würde ich sonst nie machen die ham en Rad ab im Zubehörläden. :(
Der Führungslenker geht auch zügig da die Schraube so rausgeht an den Bremsleitungen vorbei, man braucht nur die Plastekappe wegmachen aber der Hilfsrahmen bleibt dran.
Zitat:
Sind zwar nur 77 tkm
naja je nach Straßen ist das schon ok. sind ja auch hochbelastet die Köpfe.
Der Meyle oben war nach 16tsd. im Eimer (auch Kugelkopf) und die anderen ,auch der daneben, sind noch TipTop> ?! keine Ahnung ich kanns mir auch nich erklären :o
Im Bild 2 (aus dem LF-Katalog) sieht man gut, dass die oberen Lenker tatsächlich mit Schrauben ausgeliefert werden. Bei "meinem" unteren Querlenker ist keine zusätzliche Schraube eingezeichnet.
Garrett, meinst Du, ob man die bestehenen Schrauen wieder verwenden kann? Ansonsten müsste ich dann bei VAG die Schrauben für den Führungslenker neu besorgen.
Zitat:
ob man die bestehenen Schrauen wieder verwenden kann?
ist ne zweischneidige Sache, normale Schrauben die ein Drehwinkel bekommen nicht weil idR. Dehnschrauben mit Festigkeit 8.8
Die 10.9er bzw. 12.9er sind aber hochfest & mit entsprechnder Schraubensicherung (Paste, Flüssig) oder einer neuen Qetschmutter (die mitgeliefert werden) gibts da keine Probleme. So handhabe ich es und kenn es aus dem Maschinenbaubereich.
Ausnahme> die Arschlochschraube da sie nur M10 ist und sich trotz 10.9 gerne krumm zieht. Die kommt immer neu.
Jut, dann besorge ich mir mal eben noch die Kleinteile. Ist ja nicht unwichtig. Danke Garrett! :)
Der Führungslenker ist ja Nr. 21. Der "hängt" zwischen Hilfsrahmen und Radlagergehäuse.
+ Seite Hilfsrahmen: Nr. 5 und Nr. 6
+ Seite Radlagergehäuse: Nr. 20, wenn ich das richtig sehe.
Welche Teile müssten noch abgebaut und wieder angebaut werden? Kann der Traglenker verbaut bleiben?
ab Min. 2:50 gehts los ;)
Das Video ist super!! 1A und deren 2.0 TFSI B7. Habe mir schon einige Videos von denen angesehen, aber hier ist die Ausleuchtung und Sichtbarkeit echt idiotensicher - sozusagen. Also super Video - super Link!
Der Monteur ist recht schmerzfrei und verbaut zumindest den Bolzen am Hilfsrahmen erneut. Und festziehen am Hilfsrahmen in der Nulllage - das wurde hier auch nicht vergessen.
Zitat:
@a3Autofahrer schrieb am 24. April 2020 um 00:04:36 Uhr:
Jut, dann besorge ich mir mal eben noch die Kleinteile. Ist ja nicht unwichtig. Danke Garrett! :)
Der Führungslenker ist ja Nr. 21. Der "hängt" zwischen Hilfsrahmen und Radlagergehäuse.
+ Seite Hilfsrahmen: Nr. 5 und Nr. 6
+ Seite Radlagergehäuse: Nr. 20, wenn ich das richtig sehe.
Welche Teile müssten noch abgebaut und wieder angebaut werden? Kann der Traglenker verbaut bleiben?
Ich hatte seinerzeit die Schraube Nr.5 mit der Trennscheibe durchgeschnitten und im Anschluss daran entgegen Bilddarstellung von innen nach außen verbaut. So kann man den Hilfsrahmen fest lassen. Ich meine auch, dass der Traglenker fest bleiben könnte. Bin mir aber nicht sicher, ist schon länger her, wo ich umgebaut hatte.




