- Startseite
- Forum
- Auto
- Audi
- Audi E-Autos
- Audi Q8 e-tron
- Schmutzwanne unterhalb der Abdeckung
Schmutzwanne unterhalb der Abdeckung
Moin zusammen,
vor 2 Tagen kam er endlich der neue 55iger.
In zahlreichen Videos habe ich im Kofferraum unterhalb des Deckels eine herausnehmbare Schmutzwanne gesehen. Also in der Mulde vor dem Reserverad.
Hab ich wohl vergessen das richtige Kreuz zu setzen bei der Bestellung.
Kann man das irgendwo nachkaufen? Im Netz hab ich es bisher nicht gefunden. Der Audichat meinte das ist im Shop bei Zubehör, aber da ist es auch nicht....
Danke
Ähnliche Themen
32 Antworten
Dann poste doch bitte mal jemand von den Glücklichen die Teilenummer. Die steht da bestimmt drauf.
Ja, bitte die Teilenummer bzw Foto hier einstellen. Danke
Ich hoffe es hilft
Danke, Erstbesitzer16
Zitat:
@Erstbesitzer16 schrieb am 17. Januar 2021 um 14:58:16 Uhr:
Ich hoffe es hilft
Danke sehr. Hab ich nun bestellt.
https://www.online-teile.com/.../search_results.php?keywords=4KE864105
Das ist ja für Audi ein durchaus humaner Preis. Hätte mit mehr gerechnet :-)
Möchte mir das auch bestellen, und habe bei der Inspizierung dieses Ortes zwei weiße Kabel gefunden, die da so frei in der Gegend herumstehen.
Weiß jemand was das ist??
Das sind Feuchtesensoren, die für die Endkontrolle (Dichtigkeitsprüfung im Monsunregen) benutzt werden. Kannst du ignorieren, abkleben, unter den Teppich schieben, vermutlich sogar abschneiden.
Dann hätte ich noch eine Frage:
Meiner hat das Anlagepaket auch nicht. Die Wanne habe ich mir schon nachbestellt.
Kann mir wer sagen, ob man
- die getränkehalter hinten in der Armlehne
- das Verkleidungsteil im Kofferraum links mit dem netz
nachrüsten bzw. als Ersatzteil kaufen kann!?
Vor allem die platzverschwendung im Kofferraum stört mich maßlos...
Ich würde die Frage gerne nochmal aufwärmen wollen. Ich habe natürlich auch das Ablage -und Gepäckraumpaket vergessen zu buchen und die Platzverschwendung nervt mich. Besonders das Verkleidungsteil mit dem Netz würde ich gerne nachrüsten lassen. Nach meinem Recherchen gibt es da wohl keinen Einsatz für, sondern das Teil besteht aus der ganzen Kofferraumverkleidung der jeweiligen Seite. Kann das jemand bestätigen? Wenn dem so ist, dann stellt sich natürlich die Frage, ob man die das tauschen kann und was sowas dann wohl kosten würde....
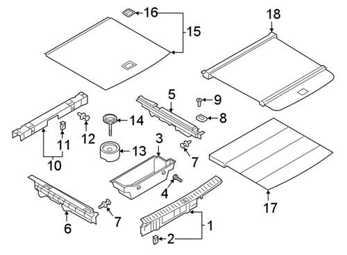
Die wanne hat die Teilenummer 4KE864105 (#3 im Bild), kostet etwa €50. Scraube (#4) hat Teilenummer WHT008796.
(Vergiss diesen Beitrag. Ich habe Seite zwei des Threads nicht gesehen, wo dies bereits beantwortet wurde)
Ich habe das Paket auch nicht, mittels breiter Klettbänder kann ich die Aussparungen im Allta g gut nutzen.
RechtenSeitenhabe ich den Verbandkasten fixiert, damit man schnell rankommt und keiner suchen muss, linke Seite sind meine typischen leeren Einkaufstüten eingesteckt. Auf die Wanne habe ich verzichtet, da sind bei mir eine Notdecke, Mütze, Handschuhe, Klebebänder und so Kleinkram drin.Dann noch ein paar kleine San Pellegrino falls ich mal vergaß mir etwas zu trinken mitzunehmen :D das gönn ich mir dann an der Ladesäule.
Du hast hinter dem aufmachbaren Fach(siehe Foto) Klettbänder angebracht? Kann ich mir ein wenig schlecht vorstellen. Wenn ich das bei mir aufmache, gucke ich gefühlt auf das nackte Blech und zusätzlich sind da einige Kabel die zur Karosserie führen. Hatte schon ein bißchen Sorge da überhaupt was reinzulegen.
Zitat:
@etron22 schrieb am 29. Dezember 2022 um 14:40:56 Uhr:
Du hast hinter dem aufmachbaren Fach(siehe Foto) Klettbänder angebracht?
ist das ein foto von einem etron? hab gerade nachgesehen und ich hab da kein aufmachbares fach mit so einem drehknopf. was soll da dahinter sein?
edit: foto gemacht
Ja, das so sieht das in meinem etron aus. Und ich glaube es sieht so aus, weil ich das Ablage -und Gepäckraumpaket vergessen habe zu bestellen. Ich finde ganz schön lieblos für so ein Auto... Ich habe da mal die Nabendeckel für die Sommerreifen reingelegt, keine gute Idee. :-) Ich denke die sind für immer verloren, auf der rechten Seite geht es in kleinen Schlitzen ziemlich weit runter. Am besten wäre es wenn man da irgendeinen Einsatz reinpacken könnte, aber ich habe bisher nichts gefunden.






