Brauche mal Euren Rat wie Ihr vorgehen würdet
Hey Folks,
am 07.05.2018 brachte ich meinen A6 aufgrund einer leuchtenden Motorkontrollleuchte fahrbereit in eine Audi Vertragswerkstatt. Am darauffolgenden Tag erreichte mich ein Anruf, dass es sich um eine defekte Glühkerze mit einem Kostenaufwand von ca. 350,-€ handeln würde. Diesen kosten stimmte ich telefonisch zu.
Einen weiteren Tag später erreichte mich ein weiterer Anruf, dass sich die Glühkerze rundgedreht hätte und der Kostenaufwand jetzt ca. 3000,-€ betragen würde.
Dem stimmte ich nicht mehr zu.
Mein Anwalt unternimmt wenig bis gar nichts und ich bin ratlos.
Ich habe vor kurzem einen Kostenvoranschlag angefordert, der eine Summe von 6325,-€ aufruft.
Derzeit ist es so, dass ich am 07.05.2018 ein fahrbereites Fahrzeug zu Audi gebracht habe, das Fahrzeug jetzt nicht mehr fahrbereit ist, dort steht, und die Werkstatt keinerlei Arbeiten vornimmt, sofern ich den Kosten nicht zustimme.
Wie würdet Ihr in diesem speziellen Fall vorgehen?
Ich hoffe auf regen Input.
Viele Grüße
Beste Antwort im Thema
So, wir haben unser Auto wieder.
Der Motoreninstandsetzer hat die Glühkerze entfernen können ohne den Kopf abzunehmen und die anderen beiden dieser Bank direkt mit getauscht.
Es wurde mir hestätigt, dass vorher unsachgemäß versucht wurde, diese auszubauen. Was ich allerdings durch kein Gutachten belegen kann.
Danke an alle, die sich hier konstruktiv mit eingebracht haben und Ihre Hilfe angeboten haben. Ich bin Duch sehr dankbar und froh dass es dieses Forum gibt.
Ähnliche Themen
181 Antworten
Scheint leider wirklich Dieselgeruch zu sein. Und zwar innen und aussen.
Auch leider recht stark. :-(
Prüf mal ob es von vorne Motorraum kommt oder eher hinter dem Fahrersitz Rückbank.
Dort hatte ich auch die Tage ein Defekt entdeckt was zu Diesel im Innenraum führte und auch aussen.
Bei mir war der Ring der Sekundärdieselpumpe defekt.
Zitat:
@Saarcruiser schrieb am 14. September 2018 um 06:51:03 Uhr:
Prüf mal ob es von vorne Motorraum kommt oder eher hinter dem Fahrersitz Rückbank.
Dort hatte ich auch die Tage ein Defekt entdeckt was zu Diesel im Innenraum führte und auch aussen.
Bei mir war der Ring der Sekundärdieselpumpe defekt.
Ich würde ganz klar sagen aus dem Motorraum und zwar eher aus der Gegend hinter dem Motor oder auf der Hinterseite des Motors wenn man vor dem Auto steht.
Mal die Leitungen am Dieselfilter geprüft?
Railleitungen dicht?
Kühlleiteitungen überprüft? Beifahrerseite unterm Auto, 2 Leitungen. Sind nicht verkleidet. Fliegen gerne Steine oder sonst so aufgelesenes Zeug von der Strauße dagegen.
Hmm, also ich habe noch nicht nachgeschaut aber laut Rep.Anleitung ist der Kraftstoffkühler (so nennt man die Kühlleitungen) unter dem Wagen verkleidet und zwar mit der Abdeckung für Wagenboden.
Ich meine in der Front vor dem Kühler geht auch eine lange Schleife hin und her... ist eine Leitung aus Alu mit Kühlrippen.
Die hat bei mir etwas gestört als ich auf S6 TFL umgebaut habe.
Zitat:
@derSentinel schrieb am 14. Sep. 2018 um 09:30:39 Uhr:
Ich meine in der Front vor dem Kühler geht auch eine lange Schleife hin und her...
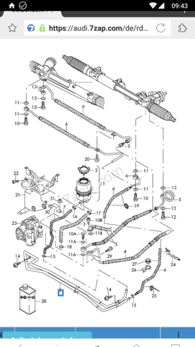
Vielleicht der Kühler für die Servolenkung? Wusste var nicht, dass die sowas hat. Aber da mich auch interessiert hat, wofür die Leitung ist, habe ich mal gegoogelt und die Bilder passen zu dem, was ich bei meinem dort vorgefunden habe.
Zitat:
@Schubbie schrieb am 14. September 2018 um 09:36:58 Uhr:
Zitat:
@derSentinel schrieb am 14. Sep. 2018 um 09:30:39 Uhr:
Ich meine in der Front vor dem Kühler geht auch eine lange Schleife hin und her...
Vielleicht der Kühler für die Servolenkung? Wusste var nicht, dass die sowas hat. Aber da mich auch interessiert hat, wofür die Leitung ist, habe ich mal gegoogelt und die Bilder passen zu dem, was ich bei meinem dort vorgefunden habe.
Danke :)
Jetzt weiß ich was da durch läuft :)
ja, das ist der Kühler fürs Sevoöl der Lenkung, das Teil war hier vor kurzem in einem anderen Thread schon mal ein Thema...
Zitat:
@Atomickeins schrieb am 14. September 2018 um 10:21:42 Uhr:
ja, das ist der Kühler fürs Sevoöl der Lenkung, das Teil war hier vor kurzem in einem anderen Thread schon mal ein Thema...
genau ^^ wollte ich auch grade schreiben, die riecht aber nicht nach Diesel, es sei denn, jemand lenkt gerne mit Diesel.
Bei so "halb" verbranntem Dieselgeruch hätte ich ja an eine defekte Injektor Dichtung gedacht, da pfeift es dann mal gerne raus.
Mag sein das es auch passieren kann, dass dann Diesel da raus suppt, was den geruch erklären würde, dass der Geruch "von hinten" kommt, nachdem es alles nach unten gelaufen ist.
Soooooo,
ich war heute nochmal in der Werkstatt.
Unterhalb der Inkektoren in dieser kleinen Rinne und in den Köpfen der Ventildeckelschrauben sammelt sich Diesel. Nicht viel, aber es ist deutlich zu erkennen. Wir haben alle Verbindungen nochmal gecheckt und alles gesäubert. Die Injektoren sind es nicht, die waren und sind trocken. Der Werkstattmeister vermutet mit ziemlicher Sicherheit, dass es die Leitung der Kraftstoffrückführung ist.
Als ich nach der Säuberung gefahren bin, war alles nach kurzer Zeit wieder nass.
Es tritt auch stärker im Stop and Go Verkehr und weniger auf der Autobahn auf.
Die Leitung ist bestellt und mal sehen ob es danach weg ist.
Alles klar, das ist ja dann halb so wild, da kommt man jedenfalls besser dran wie an den Kraftstoffkühler :)
@AUDI2.3E:
ich stelle mir gerade die Frage wie es sich wohl mit Diesel statt Servoöl lenkt aber ich möchte das nicht ausprobieren :D
@Atomickeins:
Das möchte ich lieber auch nicht testen, gehen müsste das, is ja ne Flüssigkeit.
Die Frage rage nur wie lange es dauert, bis die Pumpe oder etwas anderes verreckt.
@Poddi1978:
Berichte dann mal ob der Fehler der Vergangenheit angehört.
@AUDI2.3E:
Wasser oder Saft sind auch Flüssigkeiten :D :)
